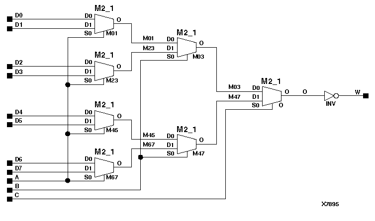
Figure 11.10 X74_152 Implementation XC3000, XC4000, XC5200, XC9000, Spartans

X74_152 Implementation XC3000, XC4000, XC5200, XC9000, Spartans figures/x7895.gif