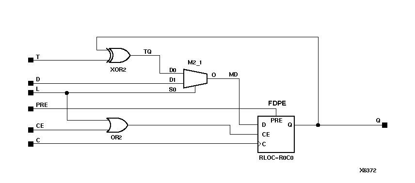
Figure 5.63 FTPLE Implementation XC4000, XC5200, Spartans, Virtex

FTPLE Implementation XC4000, XC5200, Spartans, Virtex figures/x6372n.gif